安科瑞安全用电APP入驻苹果手机APP Store啦,想必大家已经收到消息了,是不是已经尝试过如何下载-安装-登录-体验
下面小编亲测,给大家分解一下具体步骤:

其实很简单,界面观感以及打开速度等各方面体验都还不错。
说完苹果手机,当然也要介绍一下安卓手机如何安装我们的这个APP了,其实安卓手机更简单啦,只要让我们的工作人员直接把安装包发到您的手机上就可以直接打开安装了,详细步骤请看下图:

有一点要提醒大家特别注意的是安卓手机不要用微信直接转发安装包,因为微信转发会在文件后面添加后缀,这样就会导致文件无法打开以及安装。具体看下图,后来才知道是因为微信的原因,还下载了解压软件还是无法打开,真是被自己蠢哭。。。
以上就是我亲自测试过的一些分享,总体来说下载和安装都很方便,希望对各位有所帮助。
还不了解安科瑞安全用电云平台的可以继续往下看
2017年10月10日,公安部消防局发布了推进“智慧消防”建设的指导意见:
在推进“智慧消防”的大环境下,安科瑞已经凭借多年的丰富经验以及专业的技术力量,前瞻性的推出了“安全用电云平台”。
《Acrelcloud-6000安全用电云管理系统》能够对剩余电流、设备温度、故障电弧等电气故障进行实时监控、报警、记录,并且通过云端的远程控制。设备与云端的通讯方向不受限制,能上传数据、透传指令,并显示实时状态。通过对上传至云端的数据进行分析,为用户提供火灾隐患的相关数据,能够及早的发现问题并实施排查,避免火灾的发生。另一方面,云平台提供超大容量的信息储存及稳定的服务,提升了服务质量,对用户的长远发展具有战略意义。此外,该系统通过集中监控,使得数据通过每个节点的4G网络传输至云端集中式管理和监控,主控端布置于城市消防大队,从而能够对采集的信息进行统一的监控和管理。
平台结构
云端数据服务子系统
● 短信发送服务:为短信方式的报警提醒提供服务;
● 采集所有接入点的数据:接收并解析节点的实时数据;
● 命令透传:向接入节点下发参数或控制指令;
B/S云平台
● 实时监控:可以实时监控各探测点的剩余电流、温度、电压、电流、状态,系统的响应时间 <= 2min(可配置);
● 历史记录:保存报警记录、事件记录、故障记录;
● 控制功能:可以对监控单元的分闸、合闸、复位进行遥控操作,并远程设置漏电、温度、电压、开关量等参数;
● 报警提醒:消息提醒相关人员具体的报警或故障信息;
● 报警处理:下发工单给相关人员进行处理,形成闭环;
● 数据分析:通过云端储存的大量数据进行数据分析,形成多种图形及报表;
● 基础数据维护:设置用户权限、完善项目、设备信息、设置短信报警提醒的号码等;
手机网站
在手机浏览器中使用系统,功能同B/S主站系统;
安卓手机APP
功能同主站相同。
主要功能
实时监控
24小时监视各探测点的剩余电流、温度、电压、电流、状态等信息;
历史记录
所有告警信息及远程控制均被记录入日志,并可供用户方便查询;
数据分析
针对采集的数据进行各种模型分析,为客户消除安全隐患;
报警提醒
当平台收到报警或故障信息时,平台将以各种方式推送和企业管理人员,提醒关注故障状况,并采取相应的措施消除隐患;
权限管理
给不同的操作人员分配不同的权限,从而提高系统整体安全性;
远程控制
具备权限的管理人员可以远程设定探测器的各种参数值,方便管理,同时提高工作效率。
应用场景:
(一)大型商场、超市;
(二)学校、养老院、福利院;
(三)车站、医院、宾馆等领域;
(四)劳动力密集型企业;
(五)易燃易爆仓库;
(六)木材加工、纺织、涉尘、喷涂、制药等企业;
(七)酒吧、网吧等娱乐场所;
(八)小餐馆、门店及各种小微企业。
平台操作:
(1)登录

输入用户名、密码,点击“登录”按钮,如果用户名、密码不正确则提示用户输入正确的用户名密码;如果用户名、密码正确即可成功登录系统。
(2)首页

平台首页显示快速工作台、本月隐患和故障统计以及项目信息地图导航, 快速工作台显示当前需要处理的任务及报警消息,提高处理速度;地图导航支持在电子地图上显示监控项目的分布情况,并在项目图标上显示客户和联系人信息,点击图标可进入项目详细信息。
(3)实时监控

实时监控可以查看项目名称下的设备信息和探测器信息,探测器详细信息包括项目名称、所属设备、剩余电流、温度、三相电压电流、DI、DO等实时状态信息。同时具备权限的管理人员还可以对监控单元进行远程控制等操作。
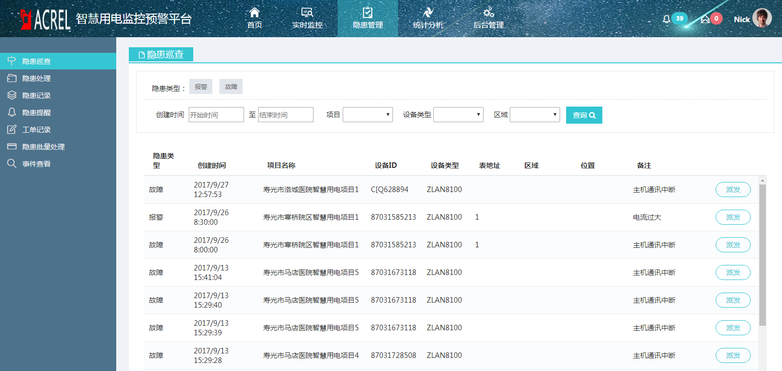
(4)隐患管理

隐患管理包括隐患巡查、隐患处理、隐患记录、隐患提醒、工单处理和隐患批量处理等功能:
(5)数据汇总

数据汇总菜单栏主要对平台监测到的所有隐患和遥控记录进行汇总展示,隐患记录可以选择曲线或者表格形式。
(6)后台管理
平台通过对用户类型实施分级管理以实现更高的信息安全,具备相应权限的用户可以对项目信息、设备信息、探测器信息等随时修改更新。
业务模式
(1)安科瑞安全用电管理云平台+数据托管方式
安科瑞协助、指导用户完成硬件设备(包括电气火灾探测器、剩余电流互感器、温度传感器、无线模块等)的安装和调试,用户将数据上传至安科瑞安全用电管理云平台,委托安科瑞管理,无需支付软件平台费用,只需根据接入的设备数量向安科瑞支付服务费。
(2)用户自建平台
平台建在用户监控室内,硬件客户可以按照我方提供配置标准自己采购或者申请阿里云服务器。安科瑞协助、指导客户完成平台的建设和运管队伍的培训,如果客户没有技术力量维护,也可以选择每年向安科瑞支持一定的服务费用。
安科瑞能效管理系统包括
变电所运维云平台、
安全用电管理云平台、
环保用电监管云平台、
预付费管理( 系统 )云平台、泛在电力物联网云平台、
智能变配电监控系统、电能质量治理系统、建筑能耗管理系统、工业企业能源管控平台、
电气火灾监控系统、
消防设备电源监控系统、
防火门监控系统、
消防应急照明和疏散指示系统、
充电桩收费管理云平台、数据中心动环监控系统、
电能管理系统、
无线测温系统、智慧管廊综合监控和报警系统、
智能照明控制系统、IT配电绝缘监测等系统及相关产品。
郭海霞
2017年12月7日