市政工程

为企业微电网提供能效管理和用电安全解决方案

安科瑞Acrel-2000电力监控系统助大健康产业-“健康方舟”起航

责任编辑:安科瑞潘丽:18706168052 阅读量: 发表时间:2021-01-22 22:44
0

  港澳大湾区成为中国“走出去、请进来”的综合门户和战略枢纽,广州迎来全球城市的新一轮发展机遇。广州国际医药港作为广东省“建设中医药强省”项目和广州市“十三五”规划项目,以粤港澳大湾区健康产业创新区为定位,以大健康产业创新综合平台为抓手,带动大健康产业上下游企业,打造千亿级大健康产业集群。项目总占地面积73公顷,计容总建筑面积150万平方米,总投资逾300亿,安科瑞电气股份有限公司承接该项目电力监控系统,保障大健康产业新纪元各个环节的配电安全、可靠,及时切除故障回路以保障整个配电网络的正常运行。
  安科瑞能效管理系统包括变电所运维云平台安全用电管理云平台环保用电监管云平台预付费管理( 系统 )云平台、泛在电力物联网云平台、智能变配电监控系统、电能质量治理系统、建筑能耗管理系统、工业企业能源管控平台、电气火灾监控系统消防设备电源监控系统防火门监控系统消防应急照明和疏散指示系统充电桩收费管理云平台、数据中心动环监控系统、电能管理系统无线测温系统、智慧管廊综合监控和报警系统、智能照明控制系统、IT配电绝缘监测等系统及相关产品。

安科瑞Acrel-2000电力监控系统助大健康产业-“健康方舟”起航

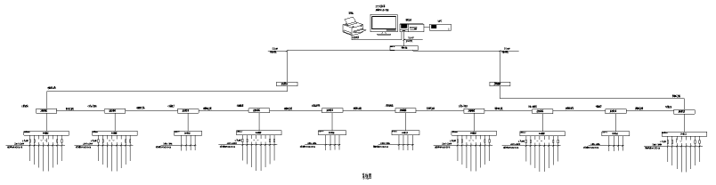
  该系统由管理服务器、工作站、通信管理器、数据采集单元、通信网络及软件等设备构成。系统采用间隔层、站级层和网络层三层网络结构。对建筑的高低压配电系统、变压器、发电机组、直流屏等实施自动监控。

  间隔层由高压微机综合保护测控单元及低压智能测量仪表等单元组成,分别安装于高、低压开关柜上,并以总线形式接入站级层通信管理器,传输介质宜采用屏蔽对绞电缆。主要完成高压继电保护、测量和信号采集并与主控单元进行通信等功能。

  站级层由安装于监控室内的通信管理器构成,主要是作为本站间隔层设备采集电力系统数据的处理、储存、调配以及通信协议的转换,并接入网络层,将本站经处理的数据上传和接受网络层下传的设定参数或控制信号等指令。

  网络层采用100M以太网络,通信管理器通过以太网接入网络层,与服务器、工作站联成计算机局域网络,以实现电力系统的集中监视、测量、控制和管理。

  变压器、直流柜、发电机组、UPS均由其他厂商配套提供控制器,控制器具有开放的接口和协议,本系统直接从其接口读取设备的工作状态、故障状态等信息。

  安科瑞能提供的产品

  智能仪表

  安科瑞电气 APM 系列网络电力仪表是按 IEC 标准设计,具有全电 量测量,电能统计,电能质量分析及网络通讯等功能,主要用于对电网供电质量的综合监控。仪表采用了模块化设计,配合功能丰富的外部 DI/DO 模块、AI/AO 模块、SD 扩展卡事件记录(SOE)模块、网络通讯模块,可以灵活实现电气回路全电量测量及开关状态监控,双 RS485 和以太网接口配合可实现 RS485主站数 据抄送,省去数据交换机。PROFIBUS-DP 接口可以实现高速数据传输及组网功能。

  通讯管理机

  ANet-2E8S1是安科瑞电器股份有限公司自主研发的一款通用型智能通信管理机,适用于国家公务机关、企事业单位、社区公共机构、住宅商业楼宇、酒店餐饮商场等领域,可满足水、电、气、油、冷量、热量等各种形式的用量及能源能耗分项计量数据采集的需求。

  产品介绍

安科瑞Acrel-2000电力监控系统助大健康产业-“健康方舟”起航

  电力监控软件功能

安科瑞Acrel-2000电力监控系统助大健康产业-“健康方舟”起航

  (1)对10KV高压配电系统的运行参数实行自动监视和测量,并实现综合保护及控制。

  (2)对0.4KV低压配电系统各回路的运行参数实行自动监视和测量。

  (3)对变压器、直流屏、发电机等电力设备实行自动监视和测量。

  (4)对电力系统的运行参数进行自动采集、分析及实时监测,及时故障隐患,并进行集中管理。

  保护及控制功能

  (1)对高压配电房内的断路器及微机综合保护测控单元,监控主机读取所有模拟量和数字量实时数据及SOE事件,保护定值,故障录波,实现对10KV进出线及联络开关的综合保护及控制功能,并修改保护定值及对断路器进行分合闸控制和对时。

  (2)系统具有防误操作、互相闭锁功能,当一分闸或合闸命令被给出时,联锁程序进行核查,然后确定此指令被执行或被取消。

  遥信功能

安科瑞Acrel-2000电力监控系统助大健康产业-“健康方舟”起航

  (1)所有高压配电房内10KV断路器及接地刀闸位置信号, 事故、预告信号。

  (2)微机综合保护测控单元发出的保护动作信号。

  (3)10KV母联自投动作信号。

  (4)高压配电房内直流电源信号(包括直流系统低压断路器掉闸、直流母线过压、低电压、失压、充电模块故障等)。

  (5)所有低压配电房0.4kV开关位置信号、故障跳闸位置信号。

  (6)所有电力变压器温控装置送出的监控电源失电、高温报警、高温跳闸、冷却风机运行状态等信号。

  (7)发电机控制屏、配电屏开关位置、故障跳闸等信号。

  (8)设备的运行状态和信息能实时地传送到电力监控室,并能在显示器显示。信号系统设预告/事故信号,音响及灯光显示,声光在无人值班时可以切除。

  遥测功能

  (1)10kV进线及出线:三相电流、电压、有功功率、无功功率、有功电度、无功电度、电量趋势图、电流电压大小值及出现的时间等。

  (2)10kV母联:三相电流、有功功率、无功功率。

  (3)0.4kV进线:三相电流、三相电压、有功功率、无功功率、视在功率、有功电度、无功电度、功率因数、频率、THD(总谐波畸变率)及2-63次谐波值、电量趋势图、电流电压大小值及出现的时间等。

  (4)0.4kV母联:三相电流、有功功率、无功功率、视在功率等。

  (5)0.4kV出线:三相电流、有功功率、无功功率、视在功率、有功电度、无功电度、功率因数、电量趋势图等。

  (6)直流屏:母线正负电压,母线电压低,电池电压高,直流母线接地等信号。

  (7)变压器:线圈温度、铁芯温度。

  (8)柴油发电机:发电机三相电流、电压、频率。

  事件记录及故障录波功能

安科瑞Acrel-2000电力监控系统助大健康产业-“健康方舟”起航

  (1)事件记录:记录的事件包括多种状态发生变化的事件,包括任何元件启动、返回或动作、参数整定值的改变和自检事件等。

  (2)故障记录及故障录波:提供可记录的故障信息及故障录波的启动方式、录波长度、存储容量等。用户可通过提供的专用软件进行故障分析。

  依托粤港澳大湾区的国家战略优势,广州国际医药港立足广州、辐射全球,将打造成为粤港澳大湾区国际智慧健康城。安科瑞电气预祝这艘“健康方舟”乘风破浪,驶向更好的明天。

江苏安科瑞电器制造有限公司是安科瑞电气股份有限公司[股票代码:300286.SZ]设在江苏江阴的生产基地,在智能电力仪表行业中采用无铅生产工艺、自动化生产检测设备;...

联系我们

地址:江苏省江阴市南闸东盟工业园区东盟路5号

电话:18706168052

邮箱:panli@email.acrel.cn

关注我们

友情链接: 江苏安科瑞官网 | 江苏安科瑞微电网研究院有限公司 | 微电网能量管理事业部

Copyright © 江苏安科瑞电器制造有限公司 备案号:苏ICP备08106144号-150 苏公网安备32028102003368号