建筑楼宇

为企业微电网提供能效管理和用电安全解决方案

安科瑞ADL系列导轨式多功能仪表在迪拜楼宇EMS中的应用

责任编辑:安科瑞潘丽:18706168052 阅读量: 发表时间:2021-03-10 22:12
0

  安科瑞ADL系列导轨式多功能仪表在迪拜楼宇EMS中的应用

  摘要:用户端消耗着整个电网80%的电能,用户端智能化用电管理对用户可靠、安全、节约用电有十分重要的意义。构建智能用电服务体系,推广用户端智能多功能仪表、智能用电管理终端等设备用电管理解决方案,实现电网与用户的双向良性互动。用户端急需解决的研究内容主要包括:先进的表计,智能楼宇、智能电器、增值服务、客户用电管理系统、需求侧管理等课题。

  安科瑞智能电力仪表配合智能用电管理系统帮客户实现实时监测,高精度电参量采集,安装方便。适用于政府机关和大型公建中对电能的分项计量。

  Abstract: the user side consumes 80% of the electric energy of the whole power grid, and the intelligent power management of the user side is of great significance to the user's reliability, safety and saving of electricity. The intelligent power service system is constructed to promote the multi-function energy meter intelligent energy management terminal and other equipment power management solutions to realize the two-ways positive interaction between the power grid and the user. The research contents that the client needs to solve mainly include: advanced meter, intelligent building, intelligent appliance, value-added service, customer power management system, demand side management and so on.

  Acrel intelligent multi-function energy meter with intelligent energy management system to help customers achieve real-time monitoring, high-precision electrical parameters acquisition, easy to install. It is suitable for the itemized measurement of electric energy in government organs and large public buildings.

  1.项目概述 Project Overview

  迪拜智能建筑楼宇中的EMS智能电能管理系统,对各楼层设施配电进行实时监测与管理。客户在配电柜内安装安科瑞ADL400多功能三相电能表,和ADL10单相电能表,通过RS485通讯方式与网关连接,上行以太网连接至服务器,将采集到的电参量信息实时反馈到管理平台,配合用户有效的对楼宇用电进行监测和管理。

  EMS intelligent power management system in intelligent building in Dubai monitors and manages the distribution of facilities on each floor in real time. The customer installs Acrel ADL400 multi-function three-phase watt-hour meter in the distribution cabinet, and ADL10 single-phase watt-hour meter, connects with the gateway through RS485 communication mode, and connects the uplink Ethernet to the server. Feedback the collected information to the management platform in real time.

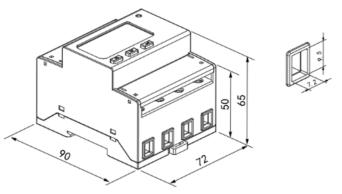
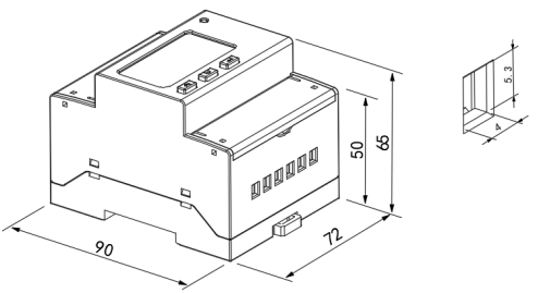
  2. ADL400系列导轨式多功能电能表

  ADL400 Series Din Rail Multi-function Energy Meter

  ADL400导轨式多功能电能表,是主要针对电力系统,工矿企业,公用设施的电能统计、管理需求而设计的一款智能仪表,产品具有精度高、体积小、安装方便等优点。集成常见电力参数测量及电能计量及考核管理,提供上48月的各类电能数据统计。具有 2~31次分次谐波与总谐波含量检测。带有RS485通信接口,可选用 MODBUS-RTU协议。该电力仪表可广泛应用于各种控制系统,SCADA系统和能源管理系统中。产品符合 IEC62053-21认证。

  ADL400 is a smart meter designed for power supply system, industrial and mining enterprises and utilities to calculate the electricity consumption and manage the electric demand. It features the high precision, small size and simple installation. It integrates the measurement of all electrical parameters with the comprehensive electricity metering and management provides various data on previous 48 months, checks the 31st harmonic content and the total harmonic content, realizes the remote communication and the remote control with switching input and relay output and boasts the alarm output. It is fitted with RS485 communication port and adapted to MODBUS-RTU Protocol .ADL400 can be used in all kinds of control systems, SCADA systems and energy management systems. The meter meet the related technical requirements of electronic meter in the IEC62053-21standards.

  3.型号说明 Model Description

  

安科瑞ADL系列导轨式多功能仪表在迪拜楼宇EMS中的应用

 

  

安科瑞ADL系列导轨式多功能仪表在迪拜楼宇EMS中的应用

 

  4.功能 Function

  

安科瑞ADL系列导轨式多功能仪表在迪拜楼宇EMS中的应用

 

  5.技术参数Technical Parameters

  

安科瑞ADL系列导轨式多功能仪表在迪拜楼宇EMS中的应用

 

  

安科瑞ADL系列导轨式多功能仪表在迪拜楼宇EMS中的应用

 

  图1 Figure 1 直接接入direct connect

  

安科瑞ADL系列导轨式多功能仪表在迪拜楼宇EMS中的应用

 

  图2 Figure 2 经互感器接入CT connect

  6.组网拓扑图 Network Topology

  

安科瑞ADL系列导轨式多功能仪表在迪拜楼宇EMS中的应用
安科瑞ADL系列导轨式多功能仪表在迪拜楼宇EMS中的应用

 

  7.安装图片Installation Site

  

安科瑞ADL系列导轨式多功能仪表在迪拜楼宇EMS中的应用
安科瑞ADL系列导轨式多功能仪表在迪拜楼宇EMS中的应用

 

  8.总结 In conclusion

  ADL400系列多功能电能表采用DIN35mm导轨式安装结构,体积小巧,能测量电能及其他电参量,可进行时钟、费率时段等参数设置,精度高、可靠性好。通过RS485通讯,配合网关,电能管理系统完成组网方式。帮助客户简单,有效的对建筑楼宇中的能源消耗进行实时监控,大大节省了人力抄表的过程,并将所有数据可视化的展现可用户,提高管理效率。

  ADL400 series of multifunctional energy meters adopt DIN35mm guide rail type installationn with small volume, it can measure electric energy and other electrical parameters, can set the clock, rate period and other parameters, high accuracy and good reliability. By RS485 communication, with the gateway, power management system to complete the networking mode. To help customers to simple, effective real-time monitoring of energy consumption in building buildings, greatly save the process of human meter reading, and visual display of all data can be users, improve management efficiency.

  参考文献 Bibliography

  1. Solutions for enterprise micro-grid system

江苏安科瑞电器制造有限公司是安科瑞电气股份有限公司[股票代码:300286.SZ]设在江苏江阴的生产基地,在智能电力仪表行业中采用无铅生产工艺、自动化生产检测设备;...

联系我们

地址:江苏省江阴市南闸东盟工业园区东盟路5号

电话:18706168052

邮箱:panli@email.acrel.cn

关注我们

友情链接: 江苏安科瑞官网 | 江苏安科瑞微电网研究院有限公司 | 微电网能量管理事业部

Copyright © 江苏安科瑞电器制造有限公司 备案号:苏ICP备08106144号-150 苏公网安备32028102003368号